La estafa del combustible en carretillas elevadoras
El coste en combustible de las operaciones con carretilla elevadora asciende a miles de euros en un período normal de contrato. En una aplicación intensiva, éste puede ser incluso mayor.
Con los precios de combustible en ascenso, una pequeña diferencia en la eficiencia contribuiría a un ahorro considerable, un dinero que ninguna empresa puede permitirse derrochar.
El estudio reveló una gran diferencia en el consumo de combustible entre los diversos fabricantes; demostrando que con la carretilla “adecuada” el ahorro se convierte en una realidad tangible.
El consumo de combustible es un dato que a menudo se pasa por alto al comprar una carretilla, oculto en la hoja de datos VDI del fabricante… y si las cifras no son favorables, ¿quién puede culpar al vendedor por no advertírselo? En algunos casos, el dato de consumo de combustible puede que ni siquiera se indique.
En este artículo, le mostraremos lo que debe buscar, cómo se calcula y le daremos una idea de la cantidad de dinero que se podría estar ahorrando para emplearlo en otras cosas.
Siga leyendo y comprobará que la diferencia de coste en combustible entre dos fabricantes puede ser de hasta 12.000 euros por carretilla en cinco años. Una cifra asombrosa y, con el precio del combustible en ascenso, el problema no va a desaparecer ni a mejorar a corto plazo.
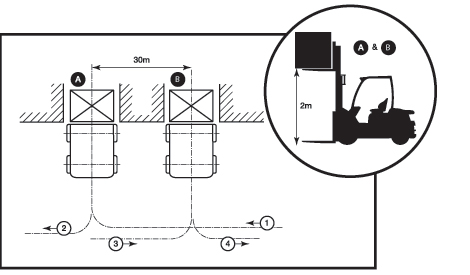
Prueba de consumo de combustible
La cifra de consumo de combustible indicado en las hojas de datos de las carretillas elevadoras se muestra normalmente como el VDI 60.
Este dato significa que la carretilla ha realizado un "ciclo de trabajo" según el circuito de prueba VDI2198 (consulte el dato a continuación), moderando la velocidad para completar dicho ciclo sesenta veces en sesenta minutos. A continuación se mide el consumo de combustible por hora.
VDI significa ‘Verband Deutscher Ingenieure’, la norma aceptada para comparar el consumo de combustible en las carretillas elevadoras de horquilla. No obstante, en la práctica, el modo de utilizar la carretilla, y, en particular, el de su conducción pueden arrojar una diferencia incluso más significativa.
La carretilla de prueba se conduce hacia adelante hasta la posición "A"; a continuación, se eleva su carga nominal a una altura de 2 m, se da marcha atrás y se desplaza a la posición "B" a unos treinta metros, donde se eleva su carga de nuevo a 2 m, antes de volver a su posición inicial.

Ciclo de prueba VDI según la norma VDI2198.
Se trata obviamente de un ciclo bastante intensivo pues, en la mayoría de las situaciones reales, una carretilla elevadora no se utilizará tan intensamente, pero ésta es la medición estándar. Se puede realizar un cálculo aproximado del coste de consumo de combustible real tomando el dato de consumo de combustible VDI60 de la hoja de datos de cada fabricante (suponiendo que está en funcionamiento, en un promedio del 60% del tiempo, o 4,8 horas al día.
Puede calcular el coste total de combustible usted mismo de la siguiente manera:
- Anote el dato de consumo de combustible indicado en la hoja de especificaciones de la carretilla elevadora
- Multiplique dicho dato por el coste de combustible por litro de diésel o por kg para LPG
- Calcule cuántas horas por día se utilizará la carretilla (por ejemplo, el 60% de un turno de 8 horas = 4,8)
- Multiplique por el número de turnos por año (por ejemplo, 260)
- Multiplique por el número de años de contrato (por ejemplo, 5)
En la siguiente tabla se muestran cinco fabricantes conocidos de carretillas elevadoras de horquillas (aparte de Mitsubishi, sus nombres se han eliminado). En cada caso, se ha utilizado la hoja de datos del fabricante correspondiente a un modelo con motor LPG de 2,5 toneladas para obtener y comparar la cifra de consumo de combustible.

Conclusiones
Analizando los datos de los propios fabricantes, se ve claramente que en la actualidad hay una gran diferencia en el rendimiento del combustible entre los distintos fabricantes. En períodos de tiempo cortos o largos, y en aplicaciones moderadamente intensivas, el combustible supone gran parte del coste de tener una carretilla; un factor importante si la decisión de compra se basa en el precio.
Los datos calculados en un período de contrato habitual de cinco años muestran que una carretilla eficiente puede ahorrarle en combustible a su operario unas 13.000 libras esterlinas (15.000 euros), en comparación con el peor de los casos, utilizando precios de combustible actuales que, con toda seguridad, seguirán aumentando.
- Medidas a adoptar
- Calcule su propio ahorro potencial utilizando la fórmula que le damos aquí (y calculando la intensidad de su operación actual) comparando la carretilla que utilice ahora con otra de mayor eficiencia energética.
- Al elegir su próxima carretilla elevadora con motor IC, compruebe los datos de consumo de combustible de los fabricantes y consulte con el representante.
- Solicite al representante del concesionario local un presupuesto equivalente para una carretilla eléctrica. Es posible que se lleve una sorpresa. Consulte nuestro artículo ‘Motor eléctrico o IC: ¿cuál es el adecuado para su instalación?)’






